GE 70 ES Ledlager Codex
Codex | Dim: 70x105x49
Lägg till en bevakning så meddelar vi dig så snart varan är i lager igen.
GE 70 ES Ledlager Codex
Codex | Dim: 70x105x49
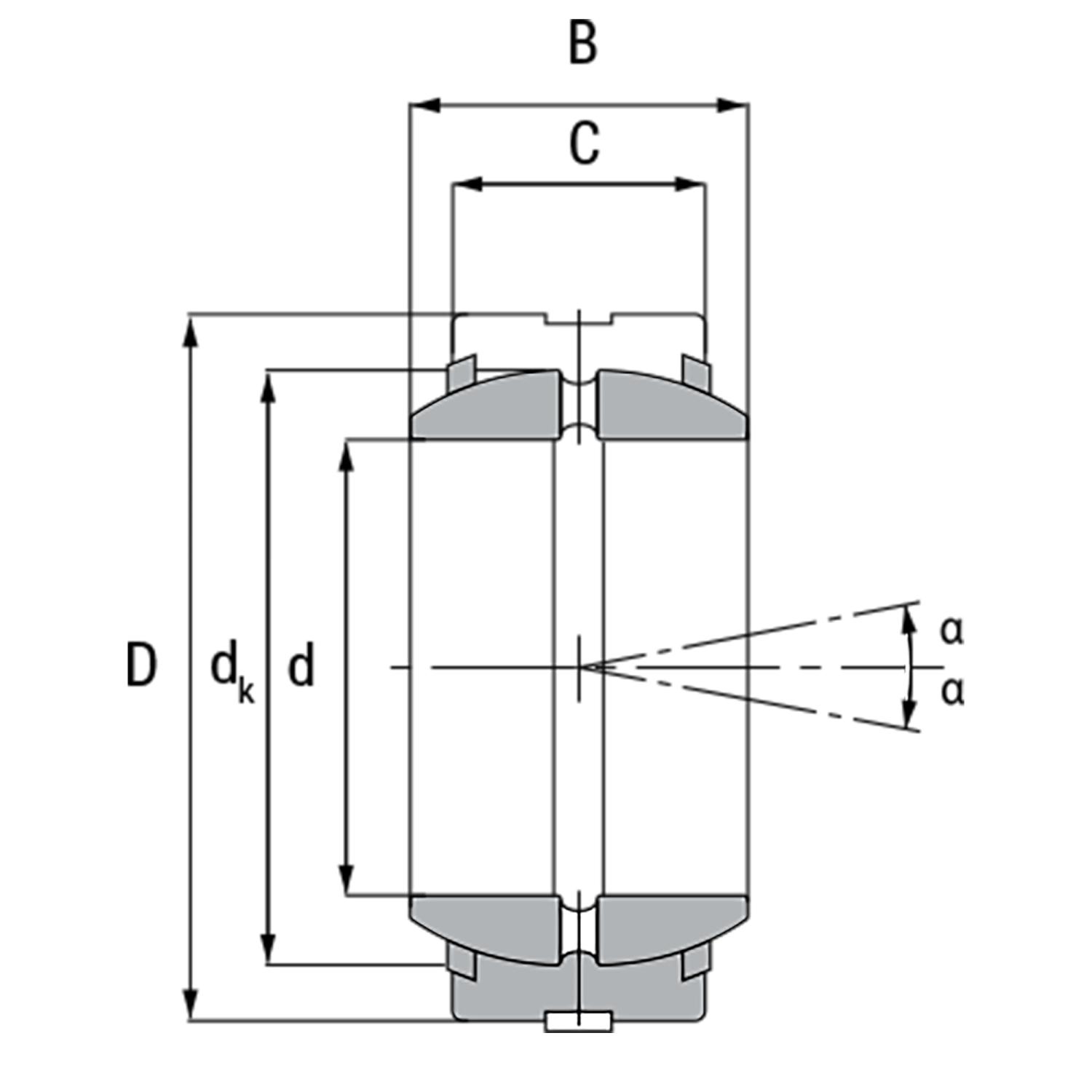
Detta GE 70 ES ledlager från Codex har en innerdiameter på 70mm, ytterdiameter på 105mm samt en bredd 49mm.
Ledlager är designade för att bära radiella och axiella belastningar och är idealisk för statiska och oscillerande applikationer där snedställning kan förekomma.
Nedan hittar du mer ingående information om detta ledlager
| FULLSTÄNDIG BETECKNING: | GE 70ES |
|---|---|
| ( d ) INNERDIAMETER: | 70 mm |
| ( D ) YTTERDIAMETER: | 105 mm |
| ( B ) BREDD KULA: | 49 mm |
| ( C ) BREDD YTTERBANA: | 40 mm |
| ( dk ) DIAMETER: | 92 mm |
| ( a ) SNEDSTÄLLNING: | 6° |
| DYNAMISK (Cr): | 313 kN |
| STATISK (Cor): | 1560 kN |
| TÄTNING: | Öppet |
| EFTERBETECKNING: |
E = Delad ytterbana (Split outer ring) S = Smörjhål |
| ALTERNATIVA BETECKNINGAR: |
GE 70ES GE-70-ES GE70-ES GE 70-DO DGE 70 ES |
| FABRIKAT: | CODEX |
